NEC 2023 — NFPA 70, National Electrical Code
Article 310 (Conductors for General Wiring) and ampacity tables for conductor sizing and derating.
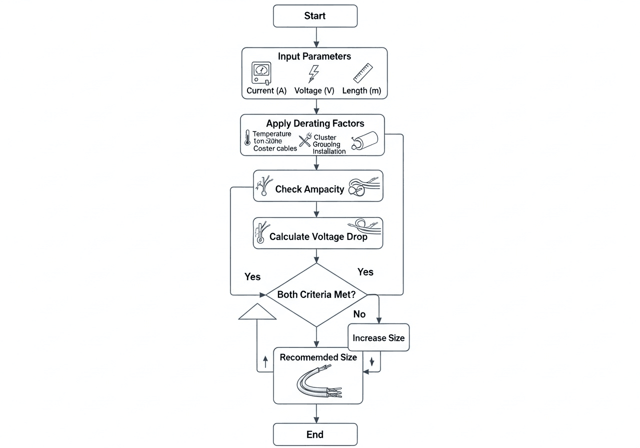
Recommend cable cross-section (mm² or AWG) using ampacity table + voltage-drop check. International & offline
| Size (mm²) | Ampacity (A) | Nearest AWG |
|---|
Professional cable size calculator with ampacity tables, voltage drop formulas & derating factors. Free tool for electrical wire sizing - supports copper, aluminum & all standards.
Ever wondered why your lights dim when the AC kicks in? Or why that extension cord gets warm when you plug in your space heater?
Here's the thing: choosing the wrong cable size is one of the most common—and dangerous—mistakes in electrical installations.
Too small, and you risk overheating, voltage drops, energy waste, and even electrical fires. Too large, and you're throwing money away on unnecessarily expensive copper or aluminum.
The good news? You don't need to be an electrical engineer to get this right. With a proper cable size calculator and understanding of the basics, you can confidently size cables for any project—from home wiring to industrial installations.
In this comprehensive guide, you'll discover:
Whether you're a DIY homeowner, electrician, solar installer, or engineering student, this guide will transform how you approach cable sizing forever.
Let's dive in.
A cable size calculator is a specialized engineering tool that determines the appropriate electrical wire cross-section (measured in mm² or AWG) needed to safely carry a specific electrical load without overheating or causing excessive voltage drop.
Think of it like choosing the right pipe diameter for water flow. Too narrow, and you get restricted flow and pressure loss. The same principle applies to electrical cables—except here, the consequences can be far more serious.

Here's what most people don't realize: electrical standards like NEC (National Electrical Code), IEC 60364, and BS 7671 exist because cables that are undersized by even 25% can reach temperatures exceeding 90°C under load conditions. At these temperatures, insulation degrades rapidly, creating fire hazards.
According to the U.S. Fire Administration, electrical failures account for approximately 6.3% of all residential fires—and improper wire sizing is a leading contributor.
Professional cable sizing considers two essential criteria:
1. Ampacity (Current Carrying Capacity)The maximum current a cable can safely carry without exceeding its temperature rating. This depends on:
2. Voltage DropThe loss of voltage that occurs as current flows through the cable's resistance. Excessive voltage drop leads to:
Industry standards typically limit voltage drop to 3% for branch circuits and 5% for total system drop.
Three-phase power uses three hot wires (and usually one neutral), delivering electricity in three overlapping waves. Picture three garden hoses working together instead of one – the water flow stays constant and powerful.
Here's where it gets interesting: because the three waves overlap perfectly, you never have a moment of zero power. Motors run smoother, equipment lasts longer, and you use less copper in your wiring.
Common three-phase voltages:
Let's pull back the curtain and see exactly how these calculators determine the right cable size. Understanding this will help you use the tool more effectively and troubleshoot sizing issues.

Cable sizing involves three interconnected calculations working together:
Every cable size has a base ampacity rating—the maximum current it can carry under ideal conditions (typically 30°C ambient, single cable in free air).
For example, a 10 mm² copper cable has a base ampacity of approximately 57 Amperes according to IEC standards.
These values come from extensive laboratory testing and are published in ampacity tables by standards organizations and cable manufacturers.

Real-world conditions are never ideal. Therefore, we apply correction factors to account for:
Temperature Derating:Formula: Derated Ampacity = Base Ampacity × Temperature Factor
Sample temperature factors:
Grouping Derating:When multiple cables run together, they generate collective heat:
Installation Method Factor:

Material Factor:Aluminum conducts approximately 67% as well as copper, so:
Complete Derating Formula:
Final Ampacity = Base Ampacity × Material Factor × Temp Factor × Grouping Factor × Install Factor × Manual FactorThis is where physics meets practical engineering. Voltage drop depends on cable resistance, which is determined by:
Resistance Formula:
R = ρ × L / AWhere:
Voltage Drop Formulas:
For single-phase systems:
Voltage Drop (V) = 2 × I × R × LVoltage Drop (%) = (Voltage Drop / System Voltage) × 100The factor "2" accounts for current flowing through both conductors (live and neutral).
For three-phase systems:
Voltage Drop (V) = √3 × I × R × L × cos(φ)Voltage Drop (%) = (Voltage Drop / System Voltage) × 100Where cos(φ) is the power factor (typically 0.8-0.95 for most loads).

Here's how the calculator selects the optimal cable size:
Step 1: Compare required current against derated ampacity tableStep 2: Calculate voltage drop for each candidate sizeStep 3: Select smallest cable that satisfies BOTH:
If no single size works, the calculator recommends parallel runs or custom solutions.
Real-World Example: 10 kW Load
Let's say you need to power a 10 kW workshop with a 0.9 power factor:
Single-Phase (230V):
Three-Phase (400V):
You just cut your power losses by 67%. Over a year, that's real money saved.

You're installing a 60-ampere three-phase motor in a factory. The motor is located 30 meters from the distribution panel, operating at 400V with a power factor of 0.8. The cables will run in a cable tray with two other circuits, and the ambient temperature is 35°C.
Load Current (60 A)This is your actual operating current—not the breaker size. For motors, use the full-load current from the nameplate.
System Voltage (400 V)Your line-to-line voltage for three-phase, or line-to-neutral for single-phase.
System Type (Three-phase)Select based on your electrical system. Three-phase is common for industrial/commercial; single-phase for residential.
Length (30 m - one-way)Measure the actual cable route distance, not straight-line. Include vertical runs, bends, and any routing through walls or ceilings.
Material (Copper)Copper offers better conductivity but costs more. Aluminum is lighter and cheaper but requires larger cross-sections.
Power Factor (0.8)For resistive loads (heaters): 1.0 For inductive loads (motors, transformers): 0.7-0.9 For mixed commercial loads: 0.85-0.95
Installation Method (Cable tray)Choose the method that matches your actual installation for accurate derating.
Ambient Temperature (35°C)Use maximum expected ambient temperature, not average. For outdoor installations in hot climates, consider 40-50°C.
Number of Grouped Circuits (3)Count all cables/circuits in the same tray, conduit, or bundle within 300mm of each other.
Allowable Voltage Drop (3%)Standard limits:
After clicking Calculate, you'll see:
Recommended Cable Size: 16 mm² (≈ AWG 5)
Voltage Drop Analysis:
Candidates Table:Compare alternative sizes to see trade-offs between cost and performance.
If Voltage Drop Exceeds Limit:
If Budget is Tight:
Scenario: 5 kW rooftop solar inverter, 12 meters from main panel, 240V single-phase
Inputs:
Result: 4 mm² cable
Scenario: 3-phase agricultural pump, 150 meters from control panel
Inputs:
Result: 70 mm² aluminum cable
Scenario: Split AC unit, outdoor compressor 8 meters from indoor panel
Inputs:
Result: 2.5 mm² cable

Industrial OperationsFactories, manufacturing plants, and workshops benefit enormously. Running heavy machinery on single-phase is like driving a semi-truck with a car engine – possible but painfully inefficient.
Large HVAC SystemsCommercial air conditioning systems over 7.5 tons need three-phase. The motors run cooler, last longer, and draw significantly less current.
Multiple Heavy EquipmentWhen you operate several high-power machines simultaneously, three-phase distributes the load evenly across phases, preventing voltage drops and equipment damage.
Cost-Benefit BreakpointIf your continuous load exceeds 7-10 kW, three-phase typically pays for itself within 2-4 years through reduced electricity bills and cheaper cabling.
Ampacity tables are the foundation of cable sizing. Here's what you need to know:
Base ratings at 30°C ambient, single conductor in free air (IEC/NEC reference)
| Size (mm²) | Ampacity (A) | Nearest AWG | Typical Application |
|---|---|---|---|
| 1.5 | 17 | AWG 15 | Light circuits, controls |
| 2.5 | 24 | AWG 13 | Power outlets, lighting |
| 4 | 32 | AWG 11 | Heavy appliances, small equipment |
| 6 | 41 | AWG 9 | AC units, water heaters |
| 10 | 57 | AWG 7 | Electric stoves, large appliances |
| 16 | 76 | AWG 5 | Sub-panels, distribution boards |
| 25 | 101 | AWG 3 | Main feeders, large motors |
| 35 | 125 | AWG 2 | Industrial loads, heavy machinery |
| 50 | 154 | AWG 1/0 | Heavy machinery, production equipment |
| 70 | 197 | AWG 2/0 | Large motors, industrial feeders |
| 95 | 234 | AWG 3/0 | Distribution systems, large installations |
| 120 | 264 | AWG 4/0 | Service entrance, main distribution |
| 150 | 303 | 250 kcmil | Commercial mains, large facilities |
| 185 | 344 | 350 kcmil | Industrial feeders, substations |
| 240 | 420 | 500 kcmil | Large industrial installations, utilities |
Never use base ampacity directly. Always apply derating factors for real-world conditions.
Temperature matters more than you think. A 50°C environment reduces ampacity by 29% compared to 30°C.
Grouping effect is significant. Four cables together have only 70% of their individual capacity.
Material choice impacts cost dramatically. While aluminum requires 50% larger cross-section than copper, it often costs 40% less per meter.
Voltage drop is often overlooked, but it has serious consequences beyond just compliance:
Motor Performance:A 10% voltage drop causes:
LED and Lighting:
Energy Waste:A 5% voltage drop on a 100A, 400V circuit wastes approximately 2,000 watts continuously—that's $1,750 per year at $0.10/kWh running 24/7.
For Critical Loads:Limit drop to 2% or less:
For Standard Loads:3% is acceptable for most applications
For Long Distance:Consider:
Wrong: "I have a 40A breaker, so I need cable for 40A"
Right: Calculate actual load current. Breakers are sized at 125% of continuous load for safety margin. Use the actual equipment current rating.
Installing cables in a 50°C attic space with 30°C ratings? That's a 29% reduction in safe ampacity you're not accounting for.
Solution: Always measure or estimate maximum ambient temperature at installation location.
Three cables in the same conduit don't each carry their full rated current.
Solution: Apply grouping factors or use oversized conduit with proper spacing.
Remember: Current travels TO the load and BACK. For voltage drop calculations, the effective length is usually double for single-phase.
Solution: The calculator accounts for this, but verify you're entering one-way distance, not total conductor length.
AWG and mm² are not directly convertible with simple math.
Solution: Use the provided conversion table or stick to one system throughout your project.
Upgrading cable after installation is expensive and disruptive.
Solution: Size cables for 125-150% of current load if future expansion is likely.

Performance, cost, and application guide for conductor material selection
| Comparison Factor | Copper (Cu) | Aluminum (Al) |
|---|---|---|
| Electrical Conductivity | ✓100% (reference standard) | 61% of copper conductivity |
| Required Cable Size | ✓Baseline / Smaller diameter | ~50% larger cross-section needed |
| Weight per Meter | Heavier (8.96 g/cm³ density) | ✓70% lighter (2.70 g/cm³) |
| Material Cost | Higher per kg (~$8-10/kg) | ✓30-40% less expensive |
| Installation Cost | ✓Easier to work with, standard | Requires special terminations |
| Flexibility | ✓More flexible, easier bending | Stiffer, requires larger bend radius |
| Oxidation Resistance | ✓Minimal oxidation concerns | Forms oxide layer (needs compound) |
| Connection Reliability | ✓Standard terminals, reliable | Requires AL-rated lugs, proper torque |
| Thermal Expansion | Lower coefficient (16.5 µm/m·K) | Higher expansion (23 µm/m·K) |
| Corrosion Behavior | ✓Better in most environments | Susceptible in acidic/salty conditions |
| Ampacity Derating | Factor: 1.0 (no derating) | Factor: 0.67 vs copper equivalent |
| Typical Applications | General purpose, short-medium runs, residential, industrial | Long runs, overhead lines, large feeders, cost-sensitive projects |
| Code Compliance | ✓Universally accepted, all sizes | Often restricted for small branch circuits |
| Service Life | ✓50+ years typical, very durable | 40+ years with proper installation |
| Best Use Case | Short-medium runs, high reliability, tight spaces, frequent connections | Long runs (>50m), overhead lines, large conductors (>35mm²), budget projects |
Remember: Aluminum requires approximately 1.5× the cross-sectional area of copper for equivalent ampacity. Always use anti-oxidant compound, aluminum-rated terminals, and follow torque specifications precisely. Many electrical codes prohibit aluminum for residential branch circuits smaller than 8 AWG (10 mm²).
NEC (National Electrical Code) - USA/Canada:
IEC 60364 - International:
BS 7671 - UK/Commonwealth:
AS/NZS 3008 - Australia/New Zealand:
Before finalizing your cable selection:
Modern electronic loads (VFDs, switch-mode power supplies, LED drivers) generate harmonic currents that increase heating in neutral conductors.
Impact: Neutral currents can exceed phase currents in some cases.
Solution: For systems with >50% non-linear loads, increase neutral conductor size or use K-rated cables.
For very high currents (>400A), parallel cables are often more practical than single large conductors.
Requirements:
Cables must withstand fault currents without damage during the time it takes protective devices to clear the fault.
Simplified check:
I²t (cable) > I²t (fault)Where:
Corrosive atmospheres: Use corrosion-resistant cables or additional derating
Wet locations: Ensure cables rated for moisture, apply additional 10% derating
Direct sunlight: UV degradation + heat: 15-20% derating for exposed cables
Seismic zones: Allow cable slack for movement, use flexible cables
Solar installations have unique requirements:
DC Side Considerations:
String Cable Example:
Result: 6 mm² copper minimum
AC Side (Inverter to Panel):Use standard AC calculations with inverter output current.
Unique factors:
Recommendation: Upsize by 25% minimum, use highly flexible marine-grade cables.
Critical considerations:
Typical sizing: 2000Ah battery at 48V can discharge at 4000A momentarily. Use multiple parallel cables rated for at least 50% of maximum current each.
Possible causes:
Solutions:
Diagnosis steps:
Immediate actions:
Common causes:
Solutions:
Never use a cable at 100% of its derated capacity. Engineers typically target 80% loading for reliability and future margin.
Create a cable schedule spreadsheet showing:
This proves compliance and helps troubleshooting.
Sometimes a larger cable that's easier to install costs less overall than wrestling with undersized cable that meets minimum specs.
Follow local color codes religiously:
In complex systems, allocate voltage drop budget:
For outdoor/industrial installations, proper cable gland selection and installation prevents 90% of moisture/contamination issues.
Cable labels fade. Use embossed or engraved tags that survive decades. Include:
Advantages:
Limitations:
Professional tools like:
When worth it:
Best for:
Emerging technology includes:
Machine learning algorithms that consider:
Research into:
Expert answers to common cable sizing questions
For a 32-amp circuit with copper cable in typical conditions (30°C ambient, single cable), you'll need 6 mm² (AWG #9) cable as a baseline. However, this assumes ideal conditions. After applying derating factors for your specific installation—such as ambient temperature, cable grouping, and installation method—many 32A circuits actually require 10 mm² cable. Always apply appropriate derating factors: if your ambient temperature is 40°C and cables are grouped with two others in a conduit, your effective ampacity drops significantly, potentially requiring larger conductors.
Follow this professional calculation method:
The cable must satisfy BOTH ampacity and voltage drop requirements. Use a cable size calculator to automate these complex calculations and ensure accuracy.
Undersized cables cause multiple serious problems that compromise safety and performance:
According to the U.S. Fire Administration, electrical failures account for 6.3% of residential fires—improper wire sizing is a leading contributor. Always size cables conservatively with appropriate safety margins.
Yes, aluminum is perfectly safe when properly sized and installed. Key considerations:
Ensure your electrical code permits aluminum for your specific application, and always have a qualified electrician perform terminations.
Millimeters squared (mm²) measures cable cross-sectional area directly—larger numbers mean bigger cables and higher capacity. It's the international standard used in most countries following IEC standards.
AWG (American Wire Gauge) is an inverse logarithmic scale where smaller numbers indicate larger cables. It's primarily used in North America following NEC standards. For example:
There's no simple mathematical conversion between the two systems. Always use conversion tables or a calculator with both standards. Most professional cable size calculators display both mm² and nearest AWG equivalent for convenience.
Standard voltage drop limits vary by application and electrical code:
Remember: A 10% voltage drop on a motor circuit causes 19% torque reduction and 21% increase in current draw. Energy waste from voltage drop is continuous—a 5% drop on a 100A/400V circuit wastes approximately 2,000 watts constantly, costing $1,750 annually at $0.10/kWh. Always minimize voltage drop for optimal efficiency and equipment lifespan.
Professional cable sizing requires applying multiple derating factors that reflect real-world conditions:
Calculation: Final Ampacity = Base Ampacity × Temperature Factor × Grouping Factor × Installation Factor × Material Factor. Example: 76A base × 0.87 temp × 0.80 group × 0.85 install × 1.0 copper = 45A derated ampacity. This is why a "76A cable" might only safely carry 45A in real conditions!
Three-phase cable sizing follows similar principles with specific formula adjustments:
Example: 60A load, 400V three-phase, 30m length, 0.8 PF, copper. Calculate resistance R = 0.017241/area, then Vdrop = 1.732 × 60 × R × 30 × 0.8. Convert to percentage and verify ≤3% limit. The cable size calculator handles these three-phase calculations automatically.
Proper cable sizing isn't just about passing electrical inspection—it's about safety, efficiency, and reliability for decades to come.
Remember the key principles:
The cable size calculator we've discussed combines professional-grade engineering principles with user-friendly interface, making it accessible whether you're wiring a home workshop or designing industrial installations.
Start by gathering your project requirements: load current, voltage, distance, and environmental conditions. Input these parameters carefully, review the results, and verify both ampacity and voltage drop meet requirements.
Your Next Step: Try the calculator now with your project specifications. Save the results, share with your electrician, and ensure your electrical installation is both safe and efficient.
Have questions about your specific application? The principles covered in this guide apply universally, but every installation is unique. When electrical safety is involved, professional consultation is always worthwhile.
Stay safe, size smart, and power your projects properly!
Comprehensive list of global cable sizing and electrical reference standards for NEC, IEC, IEEE, AS/NZS, BS, and major technical handbooks.
Article 310 (Conductors for General Wiring) and ampacity tables for conductor sizing and derating.
Selection and erection of electrical equipment — Wiring systems, from the International Electrotechnical Commission.
Recommended practice for industrial plant power distribution — Chapter 4 covers conductor sizing and voltage drop calculations.
Appendix 4 provides detailed tables for current-carrying capacity and voltage drop per circuit type.
Regional standard for cable selection, ampacity, and voltage drop in Australia & New Zealand conditions.
Official technical handbooks and sizing apps from major cable manufacturers.
Chapter on electrical systems and conductor sizing for HVAC design and integration.
Standard tables and thermal resistance equations for ampacity testing and calculation.
National Fire Data Center statistics and analysis of residential electrical fire incidents.
Reference tables for voltage drop, conductor resistance, and power factor correction.